当前位置:网站首页 - 产品中心 - 立式钻床 - Z5150B立式钻床
产品来源:滕州市高地机床有限公司 更新时间:2021/1/16 11:00:05 点击次数:22826
主要参数:
|
型号 |
Z5150B |
Z5150B(加强型) |
|
钻孔直径mm |
50 |
50 |
|
主轴轴孔锥度 |
MT5 |
MT5 |
|
主轴行程mm |
250 |
250 |
|
主轴箱行程(手动)mm |
200 |
200 |
|
主轴转速级数 |
12 |
9 |
|
进给量级数 |
9 |
9 |
|
主轴转速范围r.p.m |
31.5~1400 |
45~850 |
|
进给量范围mm/r |
0.056~1.80 |
0.056~1.80 |
|
工作台面尺寸mm |
560 x 480 |
560 x 480 |
|
工作台纵横行程mm |
--- |
--- |
|
工作台升降行程mm |
300 |
300 |
|
主轴端面至工作台面距离mm |
750 |
680 |
|
主电机功率kw |
3 |
4 |
|
外形尺寸mm |
1090x905x2465 |
1090x905x2465 |
|
机床重量(净重)kg |
1250 |
1250 |



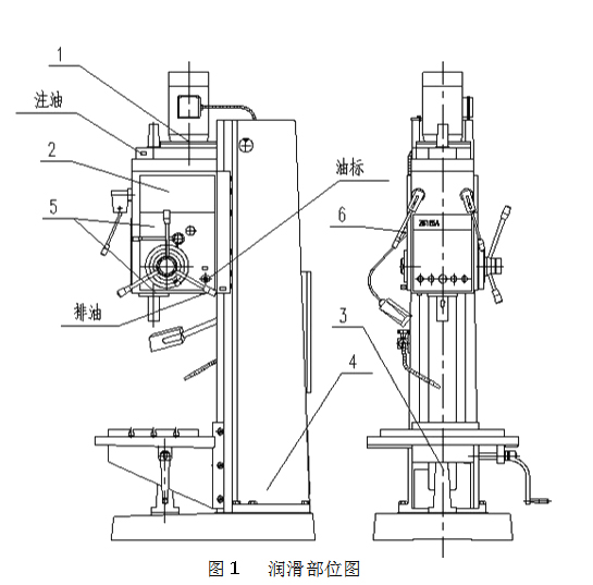
机床的润滑部位,润滑油种类及润滑周期见图1及表2所示。
机床所采用的润滑油,必须是纯净无酸性的,不许含有水分和其它杂质。主轴箱的润滑由柱塞泵将油吸上,然后经油管喷射到各润滑部位。再由高速旋转的各齿轮将润滑油飞溅到各工作面上。
主轴箱上盖上部设有注油孔,旋下螺塞即可注油,注油量以在停车状态时油面达到油标高度的一半为准。油窗设在电机座左侧上,便于观察润滑系统的工作情况,主轴箱下部设有排油孔,换油时,将主轴箱下部的螺塞旋出,润滑油即可排出。
机床使用10~15天后,换第一次油,再经20~25天后,换第二次油,以后每隔三个月换一次油。换油时,应先将旧油放完,再用纯净的煤油清洗干净后注入清洁的新油。
主轴套筒表面和立柱导轨应每日润滑。
在主轴套的上下主轴轴承部位设有润滑孔,可用黄油枪加注润滑脂,注润滑脂时关闭电源开关,小心移开主轴箱正面的面板,即可在箱内壁的孔中找到主轴上轴承的润滑孔。润滑主轴套,主轴箱左上方有一个油杯,将油杯的油管接到主轴箱的主轴套处,油杯中有毛线,每天向油杯中加滴20滴润滑油,来润滑主轴套。在工作过程中应当经常注意油窗处是否来油(能看到有飞溅的油点),即可以确保润滑系统的正常工作。
Z5150B立式钻床要定期维护,主要内容是:
1.设备润滑五定:定点、定时、定质、定量、定人;
2.每周抽出两小时彻底清扫机床,1-3个月彻底清扫;
3.检查外露部位是否有油渍铁锈,螺丝是否松动,润滑是不是彻底,电动机是否过热温度不得超过60度。
运作Z5150B立式钻床要遵守以下安全操作规程:
1.操作者必须严格遵守维护使用设备的四项要求,五项纪律。严禁超负荷使用设备
2.立钻开车前,必须按照巡回检查点仔细进行检查,并按润滑图表进行润滑
3.停车八小时以上再开动设备时,应先低速转动三至五分钟,确认运转正常后,再开始工作
4.工作中必须正确安装工具,钻套要符合标准,锥面必须清洁无滑痕
5.工作必须正确牢固的装卡在工作台上,钻透孔时必须在低面垫上垫块。
6.工作中不采用机动进给时,必须将控制螺帽向里推
7.卸钻卡具时应用标准斜铁和用铜锤轻轻敲打,不准用其它东西乱打。
8.机床变速必须停车进行。设备开动后操作者不得离开或托人代管。
9.工作中各轴承的温度不得超过60℃,主轴轴承及主轴套的温度在转速时不得超过70℃
10.工作中必须经常检查设备运转情况及润滑系统情况,如运转和润滑不良时,应停止使用设备
11.工作中严禁戴手套。
12.非电工不准打开电器箱门。
13.工作后须将手柄置于非工作位置,工作台降到低位置,并切断电源。
方柱立式钻床和圆柱立式钻床的区别:
方柱立式钻床与圆柱立式钻床的区别是方柱立式钻床的立柱是方的。圆柱立式钻床与方柱立式钻床的主要区别就是立柱的区别。圆柱立式钻床和方柱立式钻床在结构上主要的区别就是立柱。在实际结构上方柱立式钻床和圆柱立式钻床在主轴箱上还有工作台上还有很大的区别。
圆柱立式钻床和方柱立式钻床在加工性能上还有着明显的不同,方柱立式钻床具有圆柱立式钻床所没有的稳定性,因此在结构上来说方柱立式钻床的加工性能会更出色些,圆柱立式钻床的特点就是轻便。在用户选择上是选择圆柱立式钻床还是选择方柱立式钻床需要根据用户的使用要求来制定。当用户需要进行的钻削工作是强力切削时,就需要方柱立式钻床来进行钻削作业。当用户需要的钻削强度不是多大时,选择圆柱立式钻床就合适些。但是从钻孔的角度上来说摇臂钻床可以很好的替代圆柱立式钻床,因此圆柱立式钻床在使用范围上还是性能上都没有摇臂钻床的效果好。在选择立式钻床上绝大数的用户都是选择方柱立式钻床。
上一个产品:Z5140B立式钻床
下一个产品:Z5140B-1立式钻床